Дом, который моет себя сам
Многие изобретения, которые вначале кажутся откровенной глупостью, в итоге приобретают большую популярность. Соседи и знакомые американки Фрэнсис Гейб, которая в 2016 году умерла в возрасте 101 года, так и не определились, кем она была — гением или сумасшедшей. А всё из-за изобретения этой женщины…

Вся соль в том, что около 20 лет женщина не убиралась в своем доме. При этом никто не делал работу за нее, но и в тоннах пыли Фрэнсис не утонула. Удивлен? Сейчас мы поведаем, как такое стало возможным.
Оказывается, женщина жила в доме, который мыл себя сам. Несколько десятков лет назад ей в голову пришла идея, которую Фрэнсис благополучно воплотила в жизнь. А началось всё с развода…

После того, как Фрэнсис рассталась с мужем она поняла, что у нее просто не хватает сил на то, чтобы вести собственный бизнес и присматривать за детьми, которые постоянно отказывались убирать за собой.
Однажды Фрэнсис увидела пятно джема, которое стекало по стене на кухне. Женщина вышла из себя и смыла его, используя садовый шланг. Когда приступ гнева остался в прошлом, женщина решила, что не так уж глупо поступила…
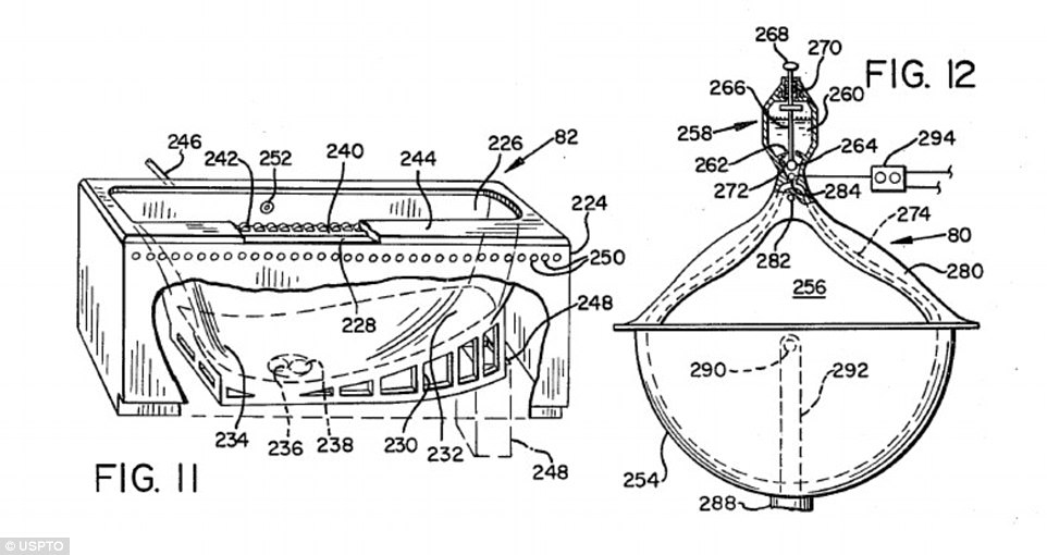
Тогда она создала модель самоочищающегося дома. А через несколько лет воплотила ее в жизнь. Женщина получила патенты на 68 различных изобретений, которые позволяли ее дому мыться и сушиться без посторонней помощи.


Жилье Фрэнсис стало напоминать гигантскую посудомоечную машину. Уникальная система не только самостоятельно мыла стены, полы и посуду, но даже стирала одежду и чистила собачью буду вместе с самой собакой.

Естественно, хозяйка присутствовала дома во время уборки, но ничего не делала. Она надевала плащ, раскрывала зонтик и нажимала на кнопку, активирующую систему.

Чтобы всё работало, полы в доме пришлось сделать с уклоном к стенам, где находились специальные желоба, по которым стекала вода. Сначала оросители, расположенные под потолками, распрыскивали мыльную воду, затем чистую, а потом специальные устройства при помощи теплого воздуха сушили дом.

Вся процедура длилась примерно час. Конечно, хозяйке приходилось идти на некие жертвы. К примеру, одежду она сразу развешивала на бельевых веревках. Кроме этого, Фрэнсис отказалась от ковров и штор, а практически вся мебель в ее доме была изготовлена из пластика.
В 80-е Фрэнсис стала довольно популярным человеком, ее приглашали на различные телешоу, а дом женщины стали посещать туристы. В общем, это весьма логично, потому что многие люди мечтают о том, чтобы избавиться от домашних хлопот.

Сама Фрэнсис рассказывала, что, работая над проектом, в первую очередь стремилась помочь людям с ограниченными способностями, многодетным мамам и работающим женщинам. Она мечтала, что ее идея даст женщинам возможность чаще бывать с семьей.
Несмотря на искреннее желание женщины помочь другим, соседи считали Фрэнсис эксцентричной тетенькой с весьма сложным характером.
Однажды в родном городке Фрэнсис случилось землетрясение. После этого часть ее системы вышла из строя. Работали, да и то с перебоями, только оросители на кухне. Как это всё происходило, можно посмотреть в этом ролике
В 2008 году родные женщины отправили ее в дом престарелых, где она умерла в декабре 2016-го в возрасте 101 года, пережив своих детей. Несмотря на то, что изобретение Фрэнсис не получило широкого распространения, многие до сих пор считают ее потрясающим человеком

Источник

Вся соль в том, что около 20 лет женщина не убиралась в своем доме. При этом никто не делал работу за нее, но и в тоннах пыли Фрэнсис не утонула. Удивлен? Сейчас мы поведаем, как такое стало возможным.
Оказывается, женщина жила в доме, который мыл себя сам. Несколько десятков лет назад ей в голову пришла идея, которую Фрэнсис благополучно воплотила в жизнь. А началось всё с развода…

После того, как Фрэнсис рассталась с мужем она поняла, что у нее просто не хватает сил на то, чтобы вести собственный бизнес и присматривать за детьми, которые постоянно отказывались убирать за собой.
Однажды Фрэнсис увидела пятно джема, которое стекало по стене на кухне. Женщина вышла из себя и смыла его, используя садовый шланг. Когда приступ гнева остался в прошлом, женщина решила, что не так уж глупо поступила…
Тогда она создала модель самоочищающегося дома. А через несколько лет воплотила ее в жизнь. Женщина получила патенты на 68 различных изобретений, которые позволяли ее дому мыться и сушиться без посторонней помощи.


Жилье Фрэнсис стало напоминать гигантскую посудомоечную машину. Уникальная система не только самостоятельно мыла стены, полы и посуду, но даже стирала одежду и чистила собачью буду вместе с самой собакой.

Естественно, хозяйка присутствовала дома во время уборки, но ничего не делала. Она надевала плащ, раскрывала зонтик и нажимала на кнопку, активирующую систему.

Чтобы всё работало, полы в доме пришлось сделать с уклоном к стенам, где находились специальные желоба, по которым стекала вода. Сначала оросители, расположенные под потолками, распрыскивали мыльную воду, затем чистую, а потом специальные устройства при помощи теплого воздуха сушили дом.

Вся процедура длилась примерно час. Конечно, хозяйке приходилось идти на некие жертвы. К примеру, одежду она сразу развешивала на бельевых веревках. Кроме этого, Фрэнсис отказалась от ковров и штор, а практически вся мебель в ее доме была изготовлена из пластика.
В 80-е Фрэнсис стала довольно популярным человеком, ее приглашали на различные телешоу, а дом женщины стали посещать туристы. В общем, это весьма логично, потому что многие люди мечтают о том, чтобы избавиться от домашних хлопот.

Сама Фрэнсис рассказывала, что, работая над проектом, в первую очередь стремилась помочь людям с ограниченными способностями, многодетным мамам и работающим женщинам. Она мечтала, что ее идея даст женщинам возможность чаще бывать с семьей.
Несмотря на искреннее желание женщины помочь другим, соседи считали Фрэнсис эксцентричной тетенькой с весьма сложным характером.
Однажды в родном городке Фрэнсис случилось землетрясение. После этого часть ее системы вышла из строя. Работали, да и то с перебоями, только оросители на кухне. Как это всё происходило, можно посмотреть в этом ролике
В 2008 году родные женщины отправили ее в дом престарелых, где она умерла в декабре 2016-го в возрасте 101 года, пережив своих детей. Несмотря на то, что изобретение Фрэнсис не получило широкого распространения, многие до сих пор считают ее потрясающим человеком

Источник
Посетители, находящиеся в группе Гости, не могут оставлять комментарии к данной публикации.